[태그:] 자동차 수리비
-

자동차 워런티 연장 보증 필요할까? 차종별·상황별 완벽 가이드 (2026)
자동차 워런티 연장 보증, 정말 가입할 가치가 있을까요? 국산차와 수입차, 전기차까지 차종별 비용 대비 효과를 분석하고, 내 상황에 맞는 최적의 선택법을 알려드립니다. 실제 수리비 사례와 비교표로 한눈에 판단하세요.
-

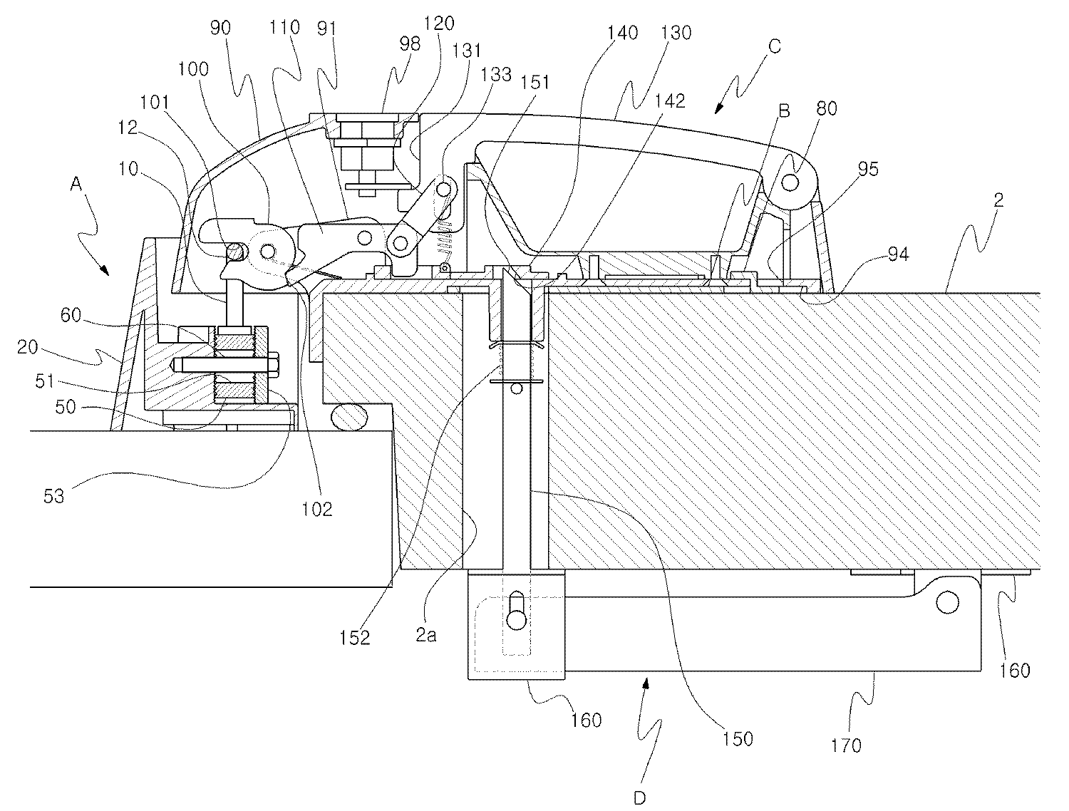
자동차 사이드미러 접힘 고장 수리 – 원인·비용·셀프 수리 완벽 가이드
자동차 사이드미러 접힘 고장의 원인부터 수리 비용, 셀프 수리 방법, 주의사항까지 한눈에 정리했습니다. 웜기어 파손, 모터 고장 등 증상별 최적의 수리 방법과 비용 절감 팁을 확인하세요.
-

자동차 잠금장치 고장 해결법 — 원인부터 수리비까지 완벽 가이드
자동차 잠금장치 고장으로 문이 안 열리거나 잠기지 않을 때 당황하지 마세요. 도어 액추에이터, 스마트키 배터리, 도어 래치 등 원인별 진단법과 응급 조치, 수리 비용 비교, 전문 업체 선택 팁까지 한 번에 정리한 실전 가이드입니다.
